据索尼最新的专利清单显示,该公司似乎正在研究一种特殊的帧速率补偿功能。

随着高帧率游戏变得越来越普遍,FreeSync等技术已被开发出来,以不同方式对抗画质撕裂,直到最近,索尼才在所有主机支持的显示器上添加了对PlayStation 5的可变刷新率(VRR)功能。

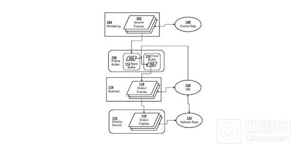
不过,根据索尼新的专利申请显示,PlayStation 5的VRR功能未来可能获得升级。该公司最新的专利申请中的一项展示了一种特殊的帧率补偿系统。

这个系统能利用扫描来消除游戏中会导致帧数下降的因素,该过程也会扫描GPU的渲染帧并补偿所需目标帧速率的波动。
同城游上饶麻将
棋牌桌游最强机甲兽
射击枪战马桶人战争模组
射击枪战同城游马队
棋牌桌游荒岛末日余生
经营策略暴力公路摩托
体育竞速躺平发育冒险
经营策略监控人塔防陷阱
经营策略怪盗绳先生
休闲益智少年仙界传
角色扮演地牢求生
角色扮演打工生活模拟器
休闲益智塔防战场
经营策略时空猎人3
射击枪战模拟部落进化
射击枪战超级收纳箱
休闲益智弓箭手吃鸡
射击枪战飞吧龙骑士
射击枪战
夜幕之下
最后的子弹
角色扮演依露希尔:星晓
角色扮演超级金铲子
休闲益智新塔防三国-全民塔防
经营策略送一杯奶茶
休闲益智怪兽猎杀者
射击枪战英雄无限火力
射击枪战坦克战车前线
射击枪战DIY创意乐园
休闲益智末日僵尸国度
射击枪战随便玩歪胡子
棋牌桌游箭头爱消除
休闲益智奇妙的像素世界
休闲益智疯狂的道士
休闲益智吞个黑洞
休闲益智马桶人:挑战监控人
射击枪战数字合合乐
休闲益智高速飙车
体育竞速刺激枪火战神
射击枪战
鬼谷八荒
角色扮演清洁大师
休闲益智
惊魂生日派对
冒险解谜逃离大香蕉跑酷
射击枪战同城游打弹子
棋牌桌游双人解压小游戏
休闲益智
诛仙世界
角色扮演极致狙击手
射击枪战樱花高校梦境之旅
射击枪战鼠鼠地铁逃亡
射击枪战